Here's a Wenesco system that helps automate soldering procedures by feeding solder wire to your application or solder pot.
|
|
|
SOLDER WIRE FEEDER |
|
|
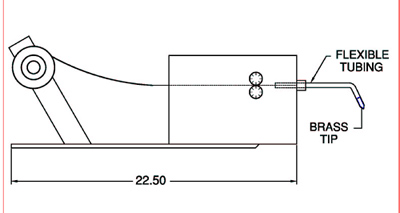
| Model M21 may be remotely placed using 36-in. nylon tubing and customized brass tip to feed the solder to its destination. |


Solder Level Switch may be purchased separately
![]() |
Model M14 Wave Solder Pot shown with 10"x3" wave nozzle and a solder level switch that controls an automatic solder feeder.
This equipment will be used in an automatic machine for soldering connectors |




